簡約階段行列(2)
簡約階段行列の一意性について証明します。すなわち、任意の行列に対して、行基本変形により得られる 簡約階段行列は一意に定まります。
この性質は、行列の標準化を、連立一次方程式の解法へ応用する際にきわめて重要な性質です。
簡約階段行列の一意性
定理 5.13(簡約階段行列の一意性)
任意の行列に対して、行基本変形により得られる簡約階段行列は一意に定まる。
解説
簡約階段行列は一意に定まる
前項の 定理 5.12(簡約階段行列)より、任意の行列は行基本変形により簡約階段行列に変形できます。
これに加えて、 定理 5.13より、簡約階段行列が(行基本変形の仕方によらず)与えられた行列により一意に定まるといえます。
したがって、具体的に与えられた任意の行列について、途中どのように行基本変形の操作を行ったかによらず、最終的に得られる簡約階段行列は $1$ つに定まるということがいえます。
簡約階段行列と階段行列の違い
前項で整理した通り、一意性に関して階段行列と簡約階段行列は次のように異なります。
- 階段行列:階段の段数($0$ でない成分を持つ行の数)は一意に定まるが、行列の形は一意に定まらない。
- 簡約階段行列:階段の段数($0$ でない成分を持つ行の数)も行列の形も一意に定まる。
このことは、階段行列よりも簡約階段行列の方が、より標準化された形であることを示唆しています。
連立一次方程式の解法への応用
連立一次方程式の解法
次節において、係数拡大行列を簡約階段行列に変形することで、連立一次方程式の解を得る方法について検討します。
簡約階段行列が一意に定まることの意義
方程式の解法において、途中の計算過程により解が変わらないことは当然の要件といえます。与えられた連立一次方程式を係数拡大行列により表したとき、係数拡大行列に対して簡約階段行列が一意に定まることは、連立一次方程式の解が途中の計算過程によらずに定まることに対応しています。
つまり、 定理 5.13(簡約階段行列の一意性)は、簡約階段行列を利用した連立一次方程式の解法の妥当性を示す根拠となるものであるということです。
証明
$A$ を $(m, n)$ 型行列として、$n$ に関する数学的帰納法により証明する。
($1$)$n = 1$ のとき、$A$ は $(m, 1)$ 型行列であり、$A$ を変形することで得られる簡約階段行列は次の $2$ つのいずれかである。
仮に $A$ を変形することで $2$ つの異なる簡約階段行列 $B, C$ が得られたとすると、例えば $B = \bm{0}, \, C = \bm{e}_{1}$ となるが、このとき $\text{rank} \, B = 0, \, \text{rank} \, C = 1$ となり、簡約階段行列の階数がもとの行列の階数に一致することに矛盾する。$B = \bm{e}_{1}, \, C = \bm{0}$ としても同様である。よって、$B = C$ が成り立つ。したがって、任意の $(m, 1)$ 型行列に対して、簡約階段行列は一意に定まる。
($2$)$n \gt 1$ として、$A$ が $(m, n)$ 型行列であるとき、$A$ を変形して得られる簡約階段行列が一意に定まると仮定する。このとき、$A$ に $m$ 項列ベクトル $\bm{a}$ を付け加えることで得られる $(m, n + 1)$ 型行列を $(A \, , \bm{a})$ として、$(A \, , \bm{a})$ を変形することで $2$ つの簡約階段行列 $(B \, , \bm{b}),$ $(C \, , \bm{c})$ が得られたとする。ここで、$B, C$ は $(m, n)$ 型行列であり、$\bm{b}, \bm{c}$ は $m$ 項列ベクトルである。$(B \, , \bm{b}),$ $(C \, , \bm{c})$ は $(A \, , \bm{a})$ の簡約階段行列であるから、$(B \, , \bm{b}),$ $(C \, , \bm{c})$ から第 $(n + 1)$ 列を除いた $B, C$ は $A$ の簡約階段行列であり、帰納法の仮定より $B = C$ である。
($\text{i}$)$B$ がどの成分も主成分でない列を持つ場合、その列番号を $j$ として、$A, B, C$ から第 $j$ 列を除くことで $(m, n - 1)$ 型行列 $A^{\prime}, B^{\prime}, C^{\prime}$ が得られる。このとき、$(B^{\prime} \, , \bm{b}), \, (C^{\prime} \, , \bm{c})$ は $(m, n)$ 型行列であり、かつ $(A^{\prime} \, , \bm{a})$ の簡約階段行列であるから、帰納法の仮定より $(B^{\prime} \, , \bm{b}) = (C^{\prime} \, , \bm{c})$ が成り立つ。したがって $\bm{b} = \bm{c}$ であり、$(B \, , \bm{b}) = (C \, , \bm{c})$ が成り立つ。
($\text{ii}$)$B$ のどの列も主成分を含む場合、$(B \, , \bm{b}),$ $(C \, , \bm{c})$ は次のような行列になる。
ここで、$\bm{b}$ と $\bm{c}$ がともに主成分を含むとすると、$(B \, , \bm{b}),$ $(C \, , \bm{c})$ が簡約階段行列であることから $\bm{b}, \bm{c}$ は第 $(n + 1)$ 行が $1$ でそれ以外の成分が $0$ であるような列ベクトルとなる。すなわち $\bm{b} = \bm{c}$ であり、$(B \, , \bm{b}) = (C \, , \bm{c})$ が成り立つ。
一方で、$\bm{b}$ と $\bm{c}$ のいずれかが主成分を含まないとすると、例えば $\bm{b}$ が主成分を含まないとして、$(B \, , \bm{b}),$ $(C \, , \bm{c})$ は次のように表せる。
定理 5.8(基本変形と基本行列の対応)より、$(A \, , \bm{a})$ に対して行基本変形を施すことは $(A \, , \bm{a})$ に左から正則行列を掛けることに等しい。したがって、$(B \, , \bm{b}),$ $(C \, , \bm{c})$ が $(A \, , \bm{a})$ の簡約階段行列であることは、$P, Q$ を正則行列として、$P \, (A \, , \bm{a}) = (B \, , \bm{b}),$ $\, Q \, (A \, , \bm{a}) = (C \, , \bm{c})$ のように表すことができる。このとき、$P, Q$ が正則であることから $Q P^{-1} \, (B \, , \bm{b}) = (C \, , \bm{c})$ が成り立つ。$Q P^{-1}$ を次のように置けば、
$Q P^{-1} \, (B \, , \bm{b}) = (C \, , \bm{c})$ であることから、
が成り立ち、$R_{11} = E_{n},$ $R_{21} = O_{m - n, n},$ $\bm{b}^{\prime} = \bm{c}^{\prime},$ $\bm{c}^{\prime \prime} = O_{m - n, 1}$ が得られる。よって、この場合も $\bm{b} = \bm{c}$ であり、$(B \, , \bm{b}) = (C \, , \bm{c})$ が成り立つ。このことは、$\bm{c}$ が主成分を含まないとしても同様に成り立つ。以上から、$(m, n + 1)$ 型行列 $(A \, , \bm{a})$ に対して簡約階段行列は一意に定まる。$\quad \square$
証明の考え方
$A$ を $(m, n)$ 型行列として、列の数($n$)に関する数学的帰納法により証明します。
($1$)$n = 1$ のとき、簡約階段行列がとり得る形は $2$ 通りしかありません。
($2$)$n \gt 1$ のときは、主成分を持たない列が存在するか否かにより場合分けをします。
定理 5.8(基本変形と基本行列の対応)により、行基本変形を施すことが正則行列を左から掛けることにより表されることを利用します。
($1$)$n = 1$ のとき
$A$ は $(m, 1)$ 型行列になります。
$A$ を変形することで得られる簡約階段行列は次の $2$ つのいずれかになります。
$$ \begin{array} {cc} \bm{0} = \begin{pmatrix} \; 0 \; \\ \vdots \\ \; 0 \; \end{pmatrix}, & \bm{e}_{1} = \begin{pmatrix} \; 1 \; \\ \; 0 \; \\ \vdots \\ \; 0 \; \end{pmatrix} \end{array} $$- $(m, 1)$ 型行列において、 簡約階段行列の条件を満たす形は $2$ つしかありません。
- $A = O$ であれば、その簡約階段行列は $\bm{0}$ であり、$A \neq O$ であれば、その簡約階段行列は $\bm{e}_{1}$ となります。
背理法により $A$ の簡約階段行列が一意に定まることを導きます。
- $A$ を変形することで $2$ つの異なる簡約階段行列 $B, C$ が得られたとします。例えば $B = \bm{0}, \, C = \bm{e}_{1}$ とします。
- このとき $\text{rank} \, B = 0, \, \text{rank} \, C = 1$ となり、簡約階段行列の階数がもとの行列の階数に一致すること( 定理 5.12(簡約階段行列))に矛盾します。
- よって、$B = C$ が成り立ちます。$B = \bm{e}_{1}, \, C = \bm{0}$ としても同様です。
以上から、$(m, 1)$ 型行列 $A$ に対して簡約階段行列は一意に定まるといえます。
($2$)$n \gt 1$ のとき
数学的帰納法により、$A$ が $(m, n)$ 型行列であるとき $A$ を変形して得られる簡約階段行列が一意に定まるとして、$A$ が $(m, n + 1)$ 型行列のときもこれが成り立つことを示します。
$(m, n)$ 型行列 $A$ に $m$ 項列ベクトル $\bm{a}$ を付け加えることで得られる $(m, n + 1)$ 型行列を $(A \, , \bm{a})$ とします。
$$ (A \, , \bm{a}) = \left( \begin{array} {cccc|c} a_{11} & a_{12} & \cdots & a_{1n} & a_{1} \\ a_{21} & a_{22} & \cdots & a_{2n} & a_{2} \\ \vdots & \vdots & \ddots & \vdots & \vdots \\ a_{m1} & a_{m2} & \cdots & a_{mn} & a_{m} \\ \end{array} \right) $$$(A \, , \bm{a})$ を変形することで $2$ つの簡約階段行列 $(B \, , \bm{b}),$ $(C \, , \bm{c})$ が得られるとすると、$B = C$ が成り立ちます。
- $B, C$ は $(m, n)$ 型行列であり、$\bm{b}, \bm{c}$ は $m$ 項列ベクトルです。
- $(B \, , \bm{b}),$ $(C \, , \bm{c})$ は $(A \, , \bm{a})$ の簡約階段行列であるから、$(B \, , \bm{b}),$ $(C \, , \bm{c})$ から第 $(n + 1)$ 列を除いた $B, C$ も簡約階段行列であり、特に $A$ の簡約階段行列となります。
- $(B \, , \bm{b})$ が 簡約階段行列の条件を満たすならば、$(B \, , \bm{b})$ から第 $(n + 1)$ 列を除いた $B$ も簡約階段行列の条件を満たすからです。$(C \, , \bm{c})$ についても同様です。
- $A$ は $(m, n)$ 型行列であり、$B, C$ はその簡約階段行列であるので、帰納法の仮定より $B = C$ が成り立ちます。
ここまでで、$(m, n + 1)$ 型行列の簡約階段行列のうち、左の第 $1 \sim n$ 列までは一意に定まるということが確かめられました。
- したがって、最右列である第 $n + 1$ 列も一意に定まること、つまり $\bm{b} = \bm{c}$ が成り立つことが示されれば良いというわけです。
- この点について、$B$($\, = C \,$)が、どの成分も主成分でない列を持つか否かにより場合分けをします。
($\text{i}$)$B$ がどの成分も主成分でない列を持つ場合
- この場合、$B$ は次のような形の行列になります。ここで、第 $j$ 列はどの成分も主成分(行のもっとも左にある $0$ でない成分)ではありません。

- このとき、$A, B, C$ から第 $j$ 列を除くことで $(m, n - 1)$ 型行列 $A^{\prime}, B^{\prime}, C^{\prime}$ が得られます。
- $(B^{\prime} \, , \bm{b}), \, (C^{\prime} \, , \bm{c})$ は $(m, n)$ 型行列であり、かつ $(A^{\prime} \, , \bm{a})$ の簡約階段行列であるから、帰納法の仮定より $(B^{\prime} \, , \bm{b}) = (C^{\prime} \, , \bm{c})$ が成り立ちます。
- したがって $\bm{b} = \bm{c}$ であり、この場合 $(B \, , \bm{b}) = (C \, , \bm{c})$ が成り立つといえます。
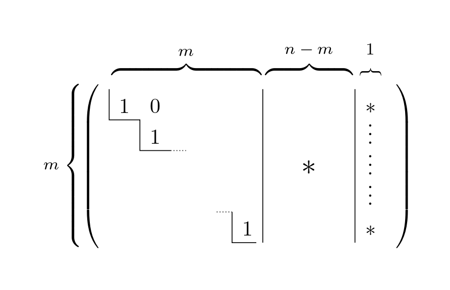
($\text{ii}$)$B$ のどの列も主成分を含む場合
この場合、$(B \, , \bm{b}),$ $(C \, , \bm{c})$ は次のような形の行列になります。

また、より簡単に次のように表すことができます。
$$ \begin{split} (B \, , \bm{b}) &= \left( \begin{array} {ll} E_{n} & \ast \\ O_{m - n, n} & \ast \end{array} \right), \\ (C \, , \bm{c}) &= \left( \begin{array} {ll} E_{n} & \ast \\ O_{m - n, n} & \ast \end{array} \right) \end{split} $$ここで $m \gt n$(すなわち、$m - n \gt 0$ )を仮定しています。仮に、$m \leqslant n$ とすると、$(B \, , \bm{b}),$ $(C \, , \bm{c})$ は次のような形となり、必ず「どの成分も主成分でない列」を持つため($\text{i}$)に該当するからです。

$\bm{b}$ と $\bm{c}$ がともに主成分を含むとすると、$(B \, , \bm{b}) = (C \, , \bm{c})$ が成り立ちます。
- このとき、$(B \, , \bm{b}),$ $(C \, , \bm{c})$ は簡約階段行列であるので、ともに次のような形の行列となります。

- すなわち、$\bm{b}, \bm{c}$ は第 $(n + 1)$ 行目が $1$ でそれ以外の成分が $0$ であるような列ベクトルとなります。
- よって、$\bm{b} = \bm{c}$ であり、$(B \, , \bm{b}) = (C \, , \bm{c})$ が成り立ちます。
一方で、$\bm{b}$ と $\bm{c}$ のいずれかが主成分を含まないとすると、例えば $\bm{b}$ が主成分を含まないとして、$(B \, , \bm{b}),$ $(C \, , \bm{c})$ は次のような形の行列になります。

- また、より簡単に次のように表すことができます。$$ \begin{split} (B \, , \bm{b}) &= \left( \begin{array} {ll} E_{n} & \bm{b}^{\prime} \\ O_{m - n, n} & O_{m - n, 1} \end{array} \right), \\ (C \, , \bm{c}) &= \left( \begin{array} {ll} E_{n} & \bm{c}^{\prime} \\ O_{m - n, n} & \bm{c}^{\prime \prime} \end{array} \right) \end{split} $$
- また、より簡単に次のように表すことができます。
この場合も、$(B \, , \bm{b}),$ $(C \, , \bm{c})$ が $(A \, , \bm{a})$ の簡約階段行列であることから、$\bm{b} = \bm{c}$ を導きます。
- $(B \, , \bm{b}),$ $(C \, , \bm{c})$ が $(A \, , \bm{a})$ の簡約階段行列であるということは、$(A \, , \bm{a})$ に対して行基本変形を施すことで $(B \, , \bm{b}),$ $(C \, , \bm{c})$ が得られるということに他なりません。
- また、 定理 5.8(基本変形と基本行列の対応)より、$(A \, , \bm{a})$ に対して行基本変形を施すことは $(A \, , \bm{a})$ に左から正則行列を掛けることに等しいことがわかってります。
- したがって、$(B \, , \bm{b}),$ $(C \, , \bm{c})$ が $(A \, , \bm{a})$ の簡約階段行列であることは、$P, Q$ を正則行列として、次のように表すことができます。$$ \begin{align*} P \, (A \, , \bm{a}) &= (B \, , \bm{b}), \\ Q \, (A \, , \bm{a}) &= (C \, , \bm{c}) \end{align*} $$
ここで、$P, Q$ は正則であるので、それぞれ逆行列をもち、次の($\star$)式が成り立ちます。
$$ \begin{gather*} (A \, , \bm{a}) = P^{-1} \, (B \, , \bm{b}) = Q^{-1} \, (C \, , \bm{c}) \\ \Rightarrow \quad Q P^{-1} \, (B \, , \bm{b}) = (C \, , \bm{c}) \tag{$\star$} \end{gather*} $$$Q P^{-1}$ を次のようにおいて($\star$)式を解くことで、$\bm{b}$ と $\bm{c}$ を求めます。
$$ Q P^{-1} = \left( \begin{array} {ll} R_{11} & R_{12} \\ R_{21} & R_{22} \end{array} \right) $$- $P, Q$ は $A$ に対する行基本変形を表す正則行列であり $(m, m)$ 型行列なので、$Q P^{-1}$ も $(m, m)$ 型行列になります。
- ($\star$)式において行列の積を効率よく計算できるよう、$Q P^{-1}$ を区分けする必要があります( 定理 2.6(ブロック行列の演算))。
- すなわち、$R_{11}$ は $(n, n)$ 型行列、$R_{12}$ は $(n, m - n)$ 型行列、$R_{21}$ は $(m - n, n)$ 型行列、$R_{22}$ は $(m - n, m - n)$ 型行列とします。
($\star$)式を解くと次のようになります。
$$ \begin{gather*} \left( \begin{array} {ll} R_{11} & R_{12} \\ R_{21} & R_{22} \end{array} \right) \left( \begin{array} {ll} E_{n} & \bm{b}^{\prime} \\ O_{m - n, n} & O_{m - n, 1} \end{array} \right) = \left( \begin{array} {ll} E_{n} & \bm{c}^{\prime} \\ O_{m - n, n} & \bm{c}^{\prime \prime} \end{array} \right) \\ \Leftrightarrow \quad \left( \begin{array} {ll} R_{11} & R_{11} \bm{b}^{\prime} \\ R_{21} & R_{21} \bm{b}^{\prime} \end{array} \right) = \left( \begin{array} {ll} E_{n} & \bm{c}^{\prime} \\ O_{m - n, n} & \bm{c}^{\prime \prime} \end{array} \right) \\ \end{gather*} $$$R_{11} = E_{n},$ $R_{21} = O_{m - n, n}$ であることから、$\bm{b}^{\prime} = \bm{c}^{\prime},$ $\bm{c}^{\prime \prime} = O_{m - n, 1}$ が得られます。
$$ \begin{align*} (\star) \quad \Rightarrow \quad & \left\{ \begin{array} {l} R_{11} = E_{n} \\ R_{21} = O_{m - n, n} \\ R_{11} \bm{b}^{\prime} = \bm{c}^{\prime} \\ R_{21} \bm{b}^{\prime} = \bm{c}^{\prime \prime} \\ \end{array} \right. \\ \Rightarrow \quad & \left\{ \begin{array} {l} % R_{11} = E_{n} \\ % R_{21} = O_{m - n, n} \\ \bm{b}^{\prime} = \bm{c}^{\prime} \\ \bm{c}^{\prime \prime} = O_{m - n, 1} \\ \end{array} \right. \end{align*} $$よって、この場合も $\bm{b} = \bm{c}$ であり、$(B \, , \bm{b}) = (C \, , \bm{c})$ が成り立つことがわかりました。このことは、$\bm{c}$ が主成分を含まないとしても同様に成り立ちます。
以上から、$(m, n + 1)$ 型行列 $(A \, , \bm{a})$ に対しても簡約階段行列は一意に定まることが確かめられました。
まとめ
- 任意の行列に対して、行基本変形により得られる簡約階段行列は一意に定まる。
参考文献
[1] 齋藤正彦. 線型代数入門. 東京大学出版会. 1966.
[2] 永田雅宣 他. 理系のための線型代数の基礎. 紀伊國屋書店. 1986.
[3] 川久保勝夫. 線形代数学 [新装版]. 日本評論社. 2010.
[4] 松坂和夫. 線型代数入門 [新装版]. 岩波書店. 2018.
[5] 三宅敏恒. 線形代数学 初歩からジョルダン標準形へ. 培風館. 2008.
[6] S. Lang. Linear Algebra Third Edition. Springer. 1987.
[7] T. Miyake. Linear Algebra From the Beginnings to the Jordan Normal. Springer. 2022.
[8] 雪江明彦. 代数学 $1$ 群論入門. 日本評論社. 2010.
[9] 雪江明彦. 代数学 $2$ 環と体とガロア理論. 日本評論社. 2010.
[10] 桂利行. 代数学 $\text{I}$ 群と環. 東京大学出版会. 2004.
[11] 松坂和夫. 代数系入門. 岩波書店. 1976.
[12] 高木貞治. 代数学講義 [改訂新版]. 共立出版. 1965.
[13] S. Lang. Algebra Revised Third Edition. Springer. 2002.
[14] M. Artin. Algebra Second Edition. Pearson Education Limited. 2014.
[15] 青本和彦 他. 数学入門辞典. 岩波書店. 2005.